Description
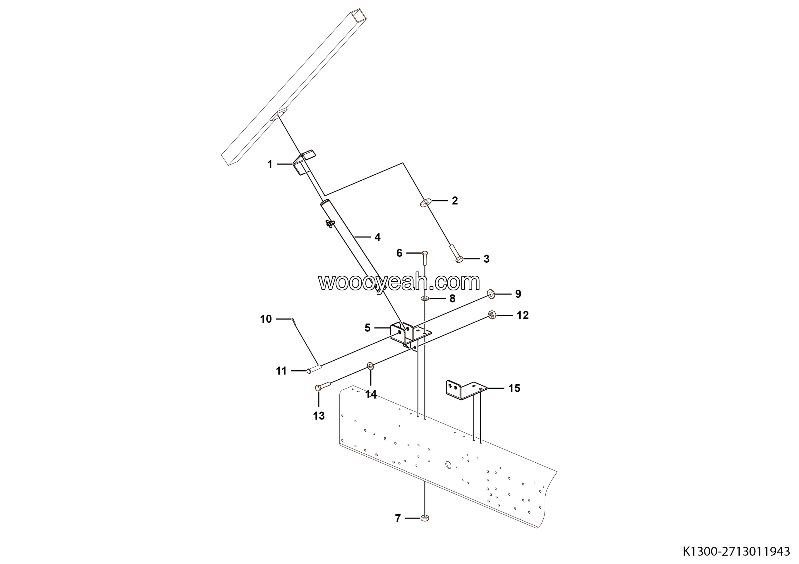
LGMG Off-Highway Dump Truck 2023 – Cab safety support optional module assy – L1300-2713011943
Category: 2023 > Off-Highway Dump Truck > MT96HF > M096HW4A0M004
Parts List:
| No. | Part Name | Part Number | Qty |
|---|---|---|---|
| 1 | Pin GB91-5*45EpZn-Q235A | 4016010004 | 1 |
| 2 | No longer used | 4016010127 | 1 |
| 3 | Nut GB6185.1-M16EpZn-8 | 4013010122 | 1 |
| 4 | Bolt GB5782-M16*65EpZn-8.8 | 4011000459 | 1 |
| 5 | No longer used | 4015000305 | 1 |
| 6 | Plate | 27130118841 | 1 |
| 7 | Support groove | 27130117791 | 1 |
| 8 | Washer GB97.1-10EpZn-300HV | 4015000162 | 2 |
| 9 | Bolt GB5783-M10*20EpZn-8.8 | 4011000081 | 2 |
| 10 | Safety support | 27130118851 | 1 |
| 11 | Pre-cab safety support | 27130119441 | 1 |
| 12 | Bolt GB5783-M12*45EpZn-8.8 | 4011000207 | 5 |
| 13 | Nut GB6185.1-M12EpZn-8 | 4013010120 | 5 |
| 14 | Washer GB96.1-12EpZn-300HV | 4015000186 | 5 |
| 15 | Washer GB96.1-22EpZn-300HV | 4190002564 | 1 |






Reviews
There are no reviews yet.