Description
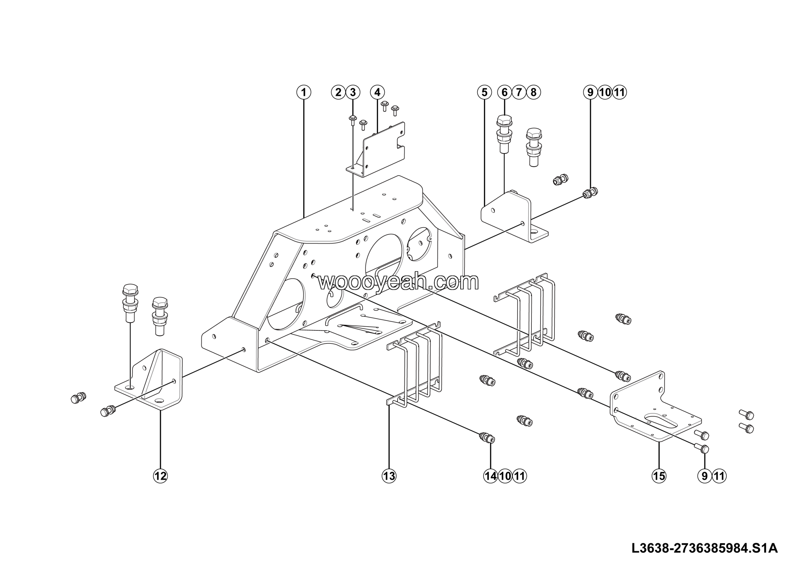
LGMG Mine Truck 2026 – Tail beam assy – L3638-2736385984.S1A
Category: 2026 > Mine Truck > RTE136 > R1361E0A0A403
Parts List:
| No. | Part Name | Part Number | Qty |
|---|---|---|---|
| 1 | Nut GB6185.1-M10flZnyc-8-480 | 4013010292 | 12 |
| 2 | Washer GB97.1-10flZnyc-300HV-480 | 4015010339 | 28 |
| 3 | Left bracket weldment | 27360170451 | 1 |
| 4 | Taillight shield weldment | 27360171601 | 2 |
| 5 | Screw GB70.1-M10*30flZnyc-8.8-480 | 4014010441 | 8 |
| 6 | Bent plate 180*153*84 | 27363842421 | 1 |
| 7 | Tail beam wldmt | 27363859831 | 1 |
| 8 | Bolt GB5783-M6*20flznyc-8.8-480 | 4011010744 | 4 |
| 9 | Washer GB96.1-6flZnyc-300HV-480 | 4015010296 | 4 |
| 10 | Bracket wldmt | 27363842131 | 1 |
| 11 | Right bracket weldment | 27360170471 | 1 |
| 12 | Bolt GB5782-M20*80flZnyc-12.9-480 | 4011010797 | 4 |
| 13 | Nut GB6185.1-M20flZnyc-12-480 | 4013010256 | 4 |
| 14 | Washer GB97.1-20flZnyc-300HV-480 | 4015010338 | 8 |
| 15 | Bolt GB5783-M10*30flznyc-8.8-480 | 4011010707 | 8 |






Reviews
There are no reviews yet.